Descripción

Resumen
Para Paneles KIDDE
- VS1, VS4
- VM-1R
GSA-M278 Double Action (One Stage) Fire Alarm Station, English Markings - UL/ULC Listed
Las estaciones manuales de las series GSA-M270 y GSA-M278 son parte del sistema Signature Series de Kidde. Las estaciones manuales de alarma contra incendios GSA-M270 presentan nuestra conocida forma de lágrima. Están hechos de zinc fundido a presión y acabados con pintura en polvo epoxi roja complementada con rayas y marcas de color aluminio. Con la operación positiva de la palanca, un tirón en la manija de la estación rompe la varilla de vidrio y genera una alarma positiva, lo que garantiza protección y un funcionamiento infalible. Los modelos de preseñal (GSA-M270P) están equipados con un interruptor de llave de alarma general (GA) para aplicaciones donde se requiere operación en dos etapas. La varilla de vidrio frontal altamente visible evita la manipulación, pero no es necesaria para un funcionamiento adecuado.
La estación GSA-M278 de una sola etapa y doble acción de Kidde es una estación manual de estilo contemporáneo hecha de lexan duradero de color rojo. Para iniciar una alarma, primero levante la puerta superior marcada "LEVANTAR Y TIRAR LA MANIJA", luego tire de la manija de la alarma.

Características
- Apariencia familiar tradicional
- Modelos de una etapa (GA), dos etapas (pre-señal) y doble acción
- Dispositivo inteligente con microprocesador integral
- Cumple con la ADA
- Direccionamiento Electrónico con Memoria No Volátil
- Mapeo automático de dispositivos
- Operación independiente
- LED de diagnóstico
- Diseñado para funcionamiento a alta temperatura ambiente

Funciones
Aplicación
Las características operativas de las estaciones de alarma contra incendios están determinadas por su código de subtipo o “Código de personalidad”. ALARMA DE APERTURA NORMAL - BLOQUEO (Código de personalidad 1) lo asigna la fábrica; no se requiere configuración de usuario. El dispositivo está configurado para funcionamiento IDC Clase B. Se envía una señal de ALARMA al controlador de bucle cuando se acciona la palanca de tracción de la estación. La condición de alarma está bloqueada en la estación.
Compatibilidad
Las estaciones manuales de la serie Signature son compatibles únicamente con el controlador Signature Loop de Kidde.
Advertencias y precauciones
Este dispositivo no funcionará sin energía eléctrica. Como los incendios suelen provocar cortes de energía, le sugerimos que analice otras medidas de seguridad con su especialista local en protección contra incendios.
Pruebas y mantenimiento
Para probar (o restablecer) la estación, simplemente abra la estación y opere el interruptor expuesto. La serie GSA-M270 se abre con una herramienta; el GSA-M278 requiere la llave que se suministra con esa estación.
El autodiagnóstico automático de la estación identifica cuando está defectuosa y genera un mensaje de problema. El programa de mantenimiento fácil de usar muestra el estado actual de cada dispositivo de la serie Signature y otros mensajes pertinentes. Los dispositivos individuales se pueden desactivar temporalmente, desde el panel de control. La disponibilidad de las funciones de mantenimiento depende del sistema de alarma contra incendios utilizado.
El mantenimiento programado (regular o seleccionado) para el funcionamiento adecuado del sistema debe planificarse para cumplir con los requisitos de la autoridad competente (AHJ). Consulte las normas actuales NFPA 72 y ULC CAN/ULC 536.

Cableado
El bloque de terminales de la estación de alarma contra incendios acepta tamaños de cables #18 AWG (0,75 mm2) a #12 AWG (2,5 mm2). Consulte la hoja del catálogo del Signature Loop Controller para obtener especificaciones detalladas de los requisitos de cableado.
Notas:
- Consulte el manual del Signature Loop Controller para conocer la distancia máxima del cable.
- Todo el cableado tiene energía limitada y está supervisado.
Instalación
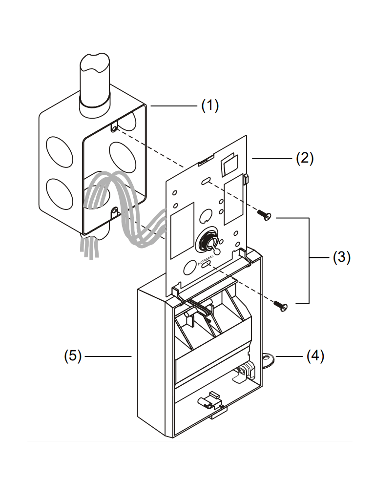
Las estaciones manuales de alarma contra incendios de una etapa Signature Series se montan en cajas norteamericanas de 2½ pulgadas (64 mm) de profundidad de 1 unidad.
Todos los modelos incluyen terminales adecuados para cables de tamaño #12 a #18 AWG (2,5 mm2 a 0,75 mm2). Kidde recomienda que estas estaciones de alarma contra incendios se instalen de acuerdo con la última edición reconocida de los códigos de alarma contra incendios nacionales y locales.
Direccionamiento electrónico: el controlador de bucle direcciona electrónicamente cada estación manual, lo que ahorra un tiempo valioso durante la puesta en servicio del sistema. No es necesario configurar interruptores o diales complicados. Cada estación tiene su propio número de serie único almacenado en su memoria integrada. El controlador de bucle identifica cada dispositivo en el bucle y asigna una dirección "soft" a cada número de serie. Si lo desea, las estaciones se pueden direccionar utilizando la herramienta de servicio/programa de firma SIGA-PRO.


Especificaciones
Descripción: Doble acción: una etapa
Requerimientos de direccionamiento: Utiliza 1 dirección de módulo
Corriente de funcionamiento: En espera = 250µA, activada = 400µA
Construcción y acabado: Lexan - Rojo con marcas blancas
Código de tipo: Conjunto de fábrica
Tensión de funcionamiento: 15,2 a 19,95 VCC (19 VCC nominal)
Entorno operativo y de almacenamiento: Temperatura de funcionamiento: 32ºF a 120ºF (0ºC a 49ºC), Temperatura de almacenamiento: -4ºF a 140ºF (-20ºC a 60ºC) Humedad: 0 a 93% RH
Operación de LED: LED verde integrado: parpadea cuando se sondea, LED rojo integrado: parpadea cuando hay alarma
Compatibilidad: Usar con: Controlador de bucle de Signature
Listados de agencias: UL, ULC, MEA, CSFM, FM
GSA-M278 Double Action (One Stage) Fire Alarm Station, English Markings - UL/ULC Listed
Para Paneles KIDDE
- VS1, VS4
- VM-1R

Incluye
1 Estación Manual Doble Acción GSA-M278 Double Action (One Stage) Fire Alarm Station, English Markings - UL/ULC Listed
1 Lave
1 Ficha técnica
Comentarios
Sé el primero en opinar sobre este artículo
No hay comentarios aún